1402
广告位

【PG娱乐】问题老哥通报,先礼后兵,不扯皮

幸运星
2025-4-6 39289
最新回复 (1402)
全部楼主
  • 福禄星 9月前
    引用 1103

    U  I  D:52474

    用户名:982812572

    问   题:注册2个账号娱乐。

    处   理:多账号娱乐,取款账号保留,账号余额清零,其余账号封禁 。

  • 福禄星 9月前
    引用 1102

    U  I  D:46837

    用户名:Jdksido

    问   题:注册2个账号娱乐。

    处   理:多账号娱乐,取款账号保留,账号余额清零,其余账号封禁 。

  • 福禄星 9月前
    引用 1101

    U  I  D:14099

    用户名:agm52017

    问   题:注册2个账号娱乐。

    处   理:多账号娱乐,取款账号保留,账号余额清零,其余账号封禁 。

  • 福禄星 9月前
    引用 1100

    U  I  D:52653

    用户名:baidiq192

    问   题:注册2个账号娱乐。

    处   理:多账号娱乐,取款账号保留,账号余额清零,其余账号封禁 。

  • 福禄星 9月前
    引用 1099

    U  I  D:52651

    用户名:gej952gej952

    问   题:注册2个账号娱乐。

    处   理:多账号娱乐,取款账号保留,账号余额清零,其余账号封禁 。

  • 福禄星 9月前
    引用 1098

    U  I  D:54760

    用户名:hy1314

    问   题:注册2个账号娱乐。

    处   理:多账号娱乐,取款账号保留,账号余额清零,其余账号封禁 。

  • 福禄星 9月前
    引用 1097

    U  I  D:27474

    用户名:lng886

    问   题:注册5个账号娱乐。

    处   理:多账号娱乐,取款账号保留,账号余额清零,其余账号封禁 。

  • 福禄星 9月前
    引用 1096

    U  I  D:54124

    用户名:yz6696

    问   题:注册3个账号娱乐。

    处   理:多账号娱乐,取款账号保留,账号余额清零,其余账号封禁 。

  • 福禄星 9月前
    引用 1095

    U  I  D:47594

    用户名:uxptgd138

    问   题:注册2个账号娱乐。

    处   理:多账号娱乐,取款账号保留,账号余额清零,其余账号封禁 。

  • 福禄星 9月前
    引用 1094

    U  I  D:51823

    用户名:pu9348259

    问   题:注册2个账号娱乐。

    处   理:多账号娱乐,取款账号保留,账号余额清零,其余账号封禁 。

  • 福禄星 9月前
    引用 1093

    U  I  D:51584

    用户名:shengc524946

    问   题:注册2个账号娱乐。

    处   理:多账号娱乐,取款账号保留,账号余额清零,其余账号封禁 。

  • 福禄星 9月前
    引用 1092

    U  I  D:46303

    用户名:595477955

    问   题:注册2个账号娱乐。

    处   理:多账号娱乐,取款账号保留,账号余额清零,其余账号封禁 。

  • caonima1314 9月前
    引用 1091

    吃到了谢谢你了,

  • 智多星 9月前
    引用 1090

    U  I  D: 29388

    用户名:102938

    问   题:注册2个账号娱乐。

    处   理:多账号娱乐,取款账号保留,账号余额清零,其余账号封禁 。

  • fbb6666 9月前
    引用 1089

    收到收到支持正义

  • 唯独我爱你 9月前
    引用 1088

    一个星期没吃肉了

  • caonima1314 9月前
    引用 1087

    挺好玩的,

  • 北极星 9月前
    引用 1086

    U  I  D:44591

    用户名:wgr726727

    问   题:注册2个账号娱乐。

    处   理:多账号娱乐,取款账号保留,账号余额清零,其余账号封禁 。

  • 北极星 9月前
    引用 1085

    U  I  D:30593

    用户名:q10145

    问   题:注册2个账号娱乐。

    处   理:多账号娱乐,取款账号保留,账号余额清零,其余账号封禁 。

  • 福禄星 9月前
    引用 1084

    U  I  D:35426

    用户名:aA332396

    问   题:注册2个账号娱乐。

    处   理:多账号娱乐,取款账号保留,账号余额清零,其余账号封禁 。

  • 福禄星 9月前
    引用 1083

    U  I  D:54107

    用户名:lzk123c

    问   题:注册4个账号娱乐。

    处   理:多账号娱乐,取款账号保留,账号余额清零,其余账号封禁 。

  • 福禄星 9月前
    引用 1082

    U  I  D:45662

    用户名:mjdt91

    问   题:注册2个账号娱乐。

    处   理:多账号娱乐,取款账号保留,账号余额清零,其余账号封禁 。

  • 888882 9月前
    引用 1081

    支持幸运星团队的决定!

  • 福禄星 9月前
    引用 1080

    U  I  D:37323

    用户名:520pg

    问   题:注册3个账号娱乐。

    处   理:多账号娱乐,取款账号保留,账号余额清零,其余账号封禁 。

  • 福禄星 9月前
    引用 1079

    U  I  D:21061

    用户名:dj8802

    问   题:注册5个账号娱乐。

    处   理:多账号娱乐,取款账号保留,账号余额清零,其余账号封禁 。

  • 福禄星 9月前
    引用 1078

    U  I  D:52046

    用户名:yjx689

    问   题:注册2个账号娱乐。

    处   理:多账号娱乐,取款账号保留,账号余额清零,其余账号封禁 。

  • 福禄星 9月前
    引用 1077

    U  I  D:23892

    用户名:w15333042935

    问   题:注册5个账号娱乐。

    处   理:多账号娱乐,取款账号保留,账号余额清零,其余账号封禁 。

  • caonima1314 9月前
    引用 1076

    好难选择困难症

  • 福禄星 9月前
    引用 1075

    U  I  D:39064

    用户名:1938366977

    问   题:注册8个账号娱乐。

    处   理:多账号娱乐,取款账号保留,账号余额清零,其余账号封禁 。

  • 福禄星 9月前
    引用 1074

    U  I  D:53896

    用户名:合适的话等等

    问   题:注册5个账号娱乐。

    处   理:多账号娱乐,取款账号保留,账号余额清零,其余账号封禁 。

  • 福禄星 9月前
    引用 1073

    U  I  D:53775

    用户名:about1234

    问   题:注册2个账号娱乐。

    处   理:多账号娱乐,取款账号保留,账号余额清零,其余账号封禁 。

  • 福禄星 9月前
    引用 1072

    U  I  D:48102

    用户名:cgy1122

    问   题:注册3个账号娱乐。

    处   理:多账号娱乐,取款账号保留,账号余额清零,其余账号封禁 。

  • 福禄星 9月前
    引用 1071

    U  I  D:43747

    用户名:z500113

    问   题:注册4个账号娱乐。

    处   理:多账号娱乐,取款账号保留,账号余额清零,其余账号封禁 。

  • 福禄星 9月前
    引用 1070

    U  I  D:53811

    用户名:Tian099

    问   题:注册2个账号娱乐。

    处   理:多账号娱乐,取款账号保留,账号余额清零,其余账号封禁 。

  • 福禄星 9月前
    引用 1069

    U  I  D:54344

    用户名:cjt200

    问   题:注册4个账号娱乐。

    处   理:多账号娱乐,取款账号保留,账号余额清零,其余账号封禁 。

  • 福禄星 9月前
    引用 1068

    U  I  D:53690

    用户名:12218810

    问   题:注册16个账号娱乐。

    处   理:多账号娱乐,取款账号保留,账号余额清零,其余账号封禁 。

  • 福禄星 9月前
    引用 1067

    U  I  D:53299

    用户名:285437547

    问   题:注册5个账号娱乐。

    处   理:多账号娱乐,取款账号保留,账号余额清零,其余账号封禁 。

  • 福禄星 10月前
    引用 1066

    U  I  D:49924

    用户名:liao0524

    问   题:注册2个账号娱乐。

    处   理:多账号娱乐,取款账号保留,账号余额清零,其余账号封禁 。

  • liao0524 10月前
    引用 1065

    为啥我这个账号就多ip了

  • 福禄星 10月前
    引用 1064

    U  I  D:45741

    用户名:liu446272853

    问   题:注册2个账号娱乐。

    处   理:多账号娱乐,取款账号保留,账号余额清零,其余账号封禁 。

     

  • wwwww369147 10月前
    引用 1063

  • ygd6031121 10月前
    引用 1062

    感谢分享

  • j171640 10月前
    引用 1061

    好的

  • 北极星 10月前
    引用 1060

    U  I  D:34637

    用户名:tktktk

    问   题:注册5个账号娱乐。

    处   理:多账号娱乐,取款账号保留,账号余额清零,其余账号封禁 。

  • 北极星 10月前
    引用 1059

    U  I  D:54837

    用户名:ghy533323

    问   题:注册5个账号娱乐。

    处   理:多账号娱乐,取款账号保留,账号余额清零,其余账号封禁 。

  • 北极星 10月前
    引用 1058

    U  I  D:52451

    用户名:ZYX070912

    问   题:注册9个账号娱乐。

    处   理:多账号娱乐,取款账号保留,账号余额清零,其余账号封禁 。

  • 北极星 10月前
    引用 1057

    U  I  D:44131

    用户名:hyc1378778

    问   题:注册2个账号娱乐。

    处   理:多账号娱乐,取款账号保留,账号余额清零,其余账号封禁 。

  • 福禄星 10月前
    引用 1056

    U  I  D:17544

    用户名:3857148900

    问   题:注册3个账号娱乐。

    处   理:多账号娱乐,取款账号保留,账号余额清零,其余账号封禁 。

  • 福禄星 10月前
    引用 1055

    U  I  D:50005

    用户名:jzixbdb

    问   题:注册8个账号娱乐。

    处   理:多账号娱乐,取款账号保留,账号余额清零,其余账号封禁 。

  • 福禄星 10月前
    引用 1054

    U  I  D:51162

    用户名:hhh12345

    问   题:注册3个账号娱乐。

    处   理:多账号娱乐,取款账号保留,账号余额清零,其余账号封禁 。

  • 福禄星 10月前
    引用 1053

    U  I  D:53831

    用户名:老四没几级

    问   题:注册2个账号娱乐。

    处   理:多账号娱乐,取款账号保留,账号余额清零,其余账号封禁 。

  • 福禄星 10月前
    引用 1052

    U  I  D:37636

    用户名:359970004

    问   题:注册2个账号娱乐。

    处   理:多账号娱乐,取款账号保留,账号余额清零,其余账号封禁 。

  • 福禄星 10月前
    引用 1051

    U  I  D:6075

    用户名:2252363765

    问   题:注册13个账号娱乐。

    处   理:多账号娱乐,取款账号保留,账号余额清零,其余账号封禁 。

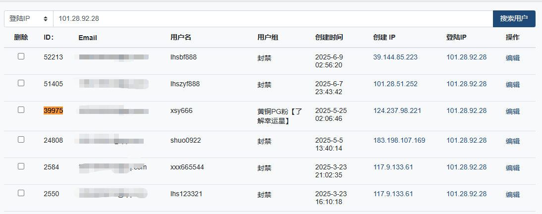
  • 福禄星 10月前
    引用 1050

    U  I  D:39975

    用户名:xsy666

    问   题:注册6个账号娱乐。

    处   理:多账号娱乐,取款账号保留,账号余额清零,其余账号封禁 。

  • 福禄星 10月前
    引用 1049

    U  I  D:24476

    用户名:lsq2308

    问   题:注册8个账号娱乐。

    处   理:多账号娱乐,取款账号保留,账号余额清零,其余账号封禁 。

  • 福禄星 10月前
    引用 1048

    U  I  D:17208

    用户名:hyj188

    问   题:注册3个账号娱乐。

    处   理:多账号娱乐,取款账号保留,账号余额清零,其余账号封禁 。

  • 福禄星 10月前
    引用 1047

    U  I  D:54539

    用户名:wdxwd223

    问   题:注册6个账号娱乐。

    处   理:多账号娱乐,取款账号保留,账号余额清零,其余账号封禁 。

  • 福禄星 10月前
    引用 1046

    U  I  D:8847

    用户名:sx112609

    问   题:注册3个账号娱乐。

    处   理:多账号娱乐,取款账号保留,账号余额清零,其余账号封禁 。

  • 老四没几级 10月前
    引用 1045

    查一下我有没有别的号,有的话帮我封了

  • abab168 10月前
    引用 1044

    管理,帮我把此账号注销

  • wdxwd223 10月前
    引用 1043

    提不了,当模拟器玩吧

  • 北极星 10月前
    引用 1042

    U  I  D:48273

    用户名:aojing666

    问   题:注册4个账号娱乐。

    处   理:多账号娱乐,取款账号保留,账号余额清零,其余账号封禁 。

  • fbb6666 10月前
    引用 1041

    必须狠狠支持正义

  • 北极星 10月前
    引用 1040

    U  I  D:42684

    用户名:yjh1122

    问   题:注册5个账号娱乐。

    处   理:多账号娱乐,取款账号保留,账号余额清零,其余账号封禁 。

  • 北极星 10月前
    引用 1039

    U  I  D:54336

    用户名:lzh147258

    问   题:注册10个账号娱乐。

    处   理:多账号娱乐,取款账号保留,账号余额清零,其余账号封禁 。

  • 福禄星 10月前
    引用 1038

    U  I  D:15825

    用户名:临危不惧2

    问   题:注册4个账号娱乐。

    处   理:多账号娱乐,取款账号保留,账号余额清零,其余账号封禁 。

  • 福禄星 10月前
    引用 1037

    U  I  D:49422

    用户名:hsf0612

    问   题:注册3个账号娱乐。

    处   理:多账号娱乐,取款账号保留,账号余额清零,其余账号封禁 。

  • 福禄星 10月前
    引用 1036

    U  I  D:36703

    用户名:zz28666

    问   题:注册6个账号娱乐。

    处   理:多账号娱乐,取款账号保留,账号余额清零,其余账号封禁 。

  • 福禄星 10月前
    引用 1035

    U  I  D:45818

    用户名:345890

    问   题:注册6个账号娱乐。

    处   理:多账号娱乐,取款账号保留,账号余额清零,其余账号封禁 。

  • 福禄星 10月前
    引用 1034

    U  I  D:41181

    用户名:qweasdzx1

    问   题:注册3个账号娱乐。

    处   理:多账号娱乐,取款账号保留,账号余额清零,其余账号封禁 。

  • 福禄星 10月前
    引用 1033

    U  I  D:31691

    用户名:133539

    问   题:注册2个账号娱乐。

    处   理:多账号娱乐,取款账号保留,账号余额清零,其余账号封禁 。

  • 福禄星 10月前
    引用 1032

    U  I  D:26960

    用户名:45678pm

    问   题:注册3个账号娱乐。

    处   理:多账号娱乐,取款账号保留,账号余额清零,其余账号封禁 。

  • 福禄星 10月前
    引用 1031

    U  I  D:36759

    用户名:qqq147890

    问   题:注册2个账号娱乐。

    处   理:多账号娱乐,取款账号保留,账号余额清零,其余账号封禁 。

  • 福禄星 10月前
    引用 1030

    U  I  D:33517

    用户名:sqc12311

    问   题:注册10个账号娱乐。

    处   理:多账号娱乐,取款账号保留,账号余额清零,其余账号封禁 。

  • caonima1314 10月前
    引用 1029

    来吧来吧,

  • 福禄星 10月前
    引用 1028

    U  I  D:6524

    用户名:cc77890

    问   题:注册2个账号娱乐。

    处   理:多账号娱乐,取款账号保留,账号余额清零,其余账号封禁 。

  • hyj188 10月前
    引用 1027

    怎么又不给我出款,我名下到底有几个号,多余的除了本号,其他的帮我删掉

  • 派大星 10月前
    引用 1026

    abc131413 为什么我就一个账号,也说我对账号,

  • abc131413 10月前
    引用 1025

    为什么我就一个账号,也说我对账号,

  • 北极星 10月前
    引用 1024

    U  I  D: 43189

    用户名:qsc159521

    问   题:注册2个账号娱乐。

    处   理:多账号娱乐,取款账号保留,账号余额清零,其余账号封禁 。

  • 北极星 10月前
    引用 1023

    U  I  D: 3720

    用户名:200110a

    问   题:注册123个账号娱乐。

    处   理:多账号娱乐,取款账号保留,账号余额清零,其余账号封禁 。

  • 北极星 10月前
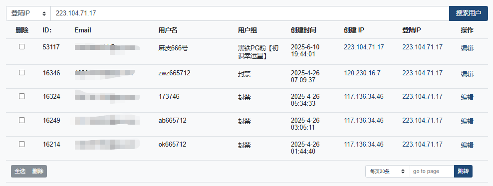
    引用 1022

    U  I  D: 53117

    用户名:麻皮666号

    问   题:注册5个账号娱乐。

    处   理:多账号娱乐,取款账号保留,账号余额清零,其余账号封禁 。

  • 北极星 10月前
    引用 1021

    U  I  D: 32728

    用户名:1722728

    问   题:注册2个账号娱乐。

    处   理:多账号娱乐,取款账号保留,账号余额清零,其余账号封禁 。

  • 北极星 10月前
    引用 1020

    U  I  D: 53551

    用户名:116251514

    问   题:注册2个账号娱乐。

    处   理:多账号娱乐,取款账号保留,账号余额清零,其余账号封禁 。

  • 北极星 10月前
    引用 1019

    U  I  D: 31196

    用户名:Aahxz123

    问   题:注册2个账号娱乐。

    处   理:多账号娱乐,取款账号保留,账号余额清零,其余账号封禁 。

  • 北极星 10月前
    引用 1018

    U  I  D: 35130

    用户名:Anndy

    问   题:注册2个账号娱乐。

    处   理:多账号娱乐,取款账号保留,账号余额清零,其余账号封禁 。

  • 北极星 10月前
    引用 1017

    U  I  D: 11237

    用户名:hqh1233

    问   题:注册10个账号娱乐。

    处   理:多账号娱乐,取款账号保留,账号余额清零,其余账号封禁 。

  • 北极星 10月前
    引用 1016

    U  I  D: 53759

    用户名:GB1955

    问   题:注册10个账号娱乐。

    处   理:多账号娱乐,取款账号保留,账号余额清零,其余账号封禁 。

  • 北极星 10月前
    引用 1015

    U  I  D: 11479

    用户名:buzhidao665

    问   题:注册2个账号娱乐。

    处   理:多账号娱乐,取款账号保留,账号余额清零,其余账号封禁 。

  • 北极星 10月前
    引用 1014

    U  I  D: 53830

    用户名:liuyujie123

    问   题:注册2个账号娱乐。

    处   理:多账号娱乐,取款账号保留,账号余额清零,其余账号封禁 。

  • 北极星 10月前
    引用 1013

    U  I  D: 52710

    用户名:6886874577

    问   题:注册3个账号娱乐。

    处   理:多账号娱乐,取款账号保留,账号余额清零,其余账号封禁 。

  • 北极星 10月前
    引用 1012

    U  I  D: 10146

    用户名:ee17173

    问   题:注册5个账号娱乐。

    处   理:多账号娱乐,取款账号保留,账号余额清零,其余账号封禁 。

  • 北极星 10月前
    引用 1011

    U  I  D: 49322

    用户名:luffy333

    问   题:注册3个账号娱乐。

    处   理:多账号娱乐,取款账号保留,账号余额清零,其余账号封禁 。

  • 北极星 10月前
    引用 1010

    U  I  D: 45917

    用户名:cang29971

    问   题:注册2个账号娱乐。

    处   理:多账号娱乐,取款账号保留,账号余额清零,其余账号封禁 。

  • 北极星 10月前
    引用 1009

    U  I  D: 46101

    用户名:123234567

    问   题:注册5个账号娱乐。

    处   理:多账号娱乐,取款账号保留,账号余额清零,其余账号封禁 。

  • 北极星 10月前
    引用 1008

    U  I  D: 40347

    用户名:a12138

    问   题:注册5个账号娱乐。

    处   理:多账号娱乐,取款账号保留,账号余额清零,其余账号封禁 。

  • 北极星 10月前
    引用 1007

    U  I  D: 51043

    用户名:yusheng0829

    问   题:注册2个账号娱乐。

    处   理:多账号娱乐,取款账号保留,账号余额清零,其余账号封禁 。

  • 北极星 10月前
    引用 1006

    U  I  D: 53372

    用户名:njs006

    问   题:注册4个账号娱乐。

    处   理:多账号娱乐,取款账号保留,账号余额清零,其余账号封禁 。

  • 福禄星 10月前
    引用 1005

    U  I  D: 39196

    用户名:Mxy200315

    问   题:注册17个账号娱乐。

    处   理:多账号娱乐,取款账号保留,账号余额清零,其余账号封禁 。

     

  • 福禄星 10月前
    引用 1004

    U  I  D:43871

    用户名:wxy122

    问   题:注册6个账号娱乐。

    处   理:多账号娱乐,取款账号保留,账号余额清零,其余账号封禁 。

请先登录后发表评论

返回
请先登录后发表评论!